
新疆政务服务APP(原名新服办官方版)是新疆维吾尔自治区人民政府倾力打造的数字化政务服务平台,致力于整合各类便民服务资源,实现“一网通办”“掌上办”。涵盖行政审批、民生缴费、社保医保、交通出行等高频事项,让各族群众在指尖享受高效、透明、便捷的政务体验。打破时空壁垒,政务服务触手可及——下载新疆政务服务APP,开启智慧政务新生活!
1、首页
在首页,用户可以快速点击常见热门办事功能模块,包括社保、医保、公积金等。

2、办事
更加详细划分的事务种类,还有各种不同分类。

3、12345
便民服务热线,倾听收集每一位民众的反馈。

4、我的
在这里用户可以查看自己办过那些事、投诉的进度、预约详情等。

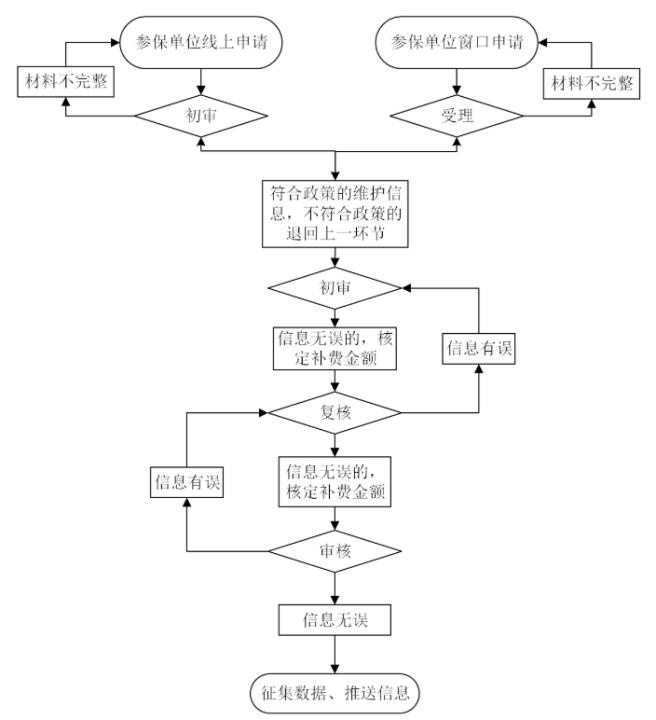
职工社会保险费断缴补缴申报流程图:

1. 全域通办无门槛:跨区域、跨部门事项在线申报,材料自动流转,异地也能一键办理,真正实现“数据多跑路,群众少跑腿”。
2. 双语界面全覆盖:支持汉文与维文双语切换,界面清晰、操作流畅,尊重各族群众语言习惯,提升使用亲和力。
3. 智能推荐更贴心:基于用户身份与历史行为智能推送高频服务,如社保查询、户籍迁移、就业培训等,精准匹配需求。
4. 电子证照随身用:汇聚身份证、驾驶证、不动产权证等百余种电子证照,出示即用,无需反复提交纸质材料。
5. 投诉反馈即时达:设立“政企互动”通道,审批进度可查、咨询实时响应、问题限时反馈,推动服务闭环管理。
6. 个性定制专区:支持自定义常用服务模块,打造专属首页,让高频业务一键直达,操作效率提升50%以上。
1. 在线办事大厅:集成省级32个部门、各地州市200余项行政权力事项,涵盖企业开办、不动产登记、税务申报等全生命周期服务,支持全流程电子化提交与审批。
2. 民生服务集成:整合教育报名、医疗挂号、水电燃气缴费、社保医保查询等功能,实现生活缴费“一键缴清”,医保报销线上实时审核。
3. 个人中心管家式:统一展示“我的证照”“我的订单”“我的积分”等个人信息,支持电子材料归档下载,重要通知实时推送提醒。
4. 智能搜索秒响应:支持关键词模糊匹配与语音输入搜索,快速定位所需服务或政策文件,匹配准确率高达98%。
5. 城市服务专区:接入交通违章查询、公积金提取预约、社区事务上报等本地化功能,覆盖13个地州市差异化需求。
6. 适老化无障碍模式:推出长辈模式与读屏兼容界面,大字体、大按钮设计,语音导航辅助操作,让老年人同样轻松使用。
1. 权威性零误差:由自治区大数据发展局牵头运营,数据直连各级政府部门,确保政策发布、服务标准与官方完全同步,杜绝信息滞后或偏差。
2. 高安全性强防护:采用国密算法加密传输与实名+人脸双验机制,保障用户隐私与交易安全,通过公安部信息系统等级保护三级认证。
3. 全疆覆盖无盲区:覆盖新疆14个地州市、106个县区行政服务资源,偏远农牧区网络弱覆盖区域亦支持离线预填+同步上传功能。
4. 响应速度行业领先:平均在线客服响应时间低于15秒,审批类事项承诺时限压缩至法定时限的50%,紧急事项开通绿色通道快速通道。
5. 政策直达精准触达:通过标签画像实现惠农补贴、创业扶持、人才引进等政策智能匹配,主动推送可申领项目清单,避免群众“不知有、不会申”。
6. 生态开放共建共享:接入第三方便民平台(如顺丰寄递、医院挂号系统),同时开放开发者接口,鼓励社会力量共建小程序生态,服务更丰富多元。
想了解更多精彩内容,请关注吐司下载站!